| Sign In | Join Free | My chinacomputerparts.com |
|
Brand Name : Anterwell
Model Number : LM2596SX-3.3
Certification : new & original
Place of Origin : original factory
MOQ : 10pcs
Price : Negotiate
Payment Terms : T/T, Western Union, Paypal
Supply Ability : 4800pcs
Delivery Time : 1 day
Packaging Details : Please contact me for details
Maximum Supply Voltage : 45V
ON /OFF Pin Input Voltage : −0.3 ≤ V ≤ +25V
Feedback Pin Voltage : −0.3 ≤ V ≤+25V
Output Voltage to Ground (Steady State) : −1V
Power Dissipation : Internally limited
Storage Temperature Range : −65°C to +150°C
TO-220 Package (Soldering, 10 sec.) : +260°C
Maximum Junction Temperature : +150°C
LM2596 SIMPLE SWITCHER® Power Converter 150 kHz 3A Step-Down Voltage Regulator
FEATURES
APPLICATIONS
DESCRIPTION
The LM2596 series of regulators are monolithic integrated circuits that provide all the active functions for a step-down (buck) switching regulator, capable of driving a 3A load with excellent line and load regulation. These devices are available in fixed output voltages of 3.3V, 5V, 12V, and an adjustable output version.
Requiring a minimum number of external components, these regulators are simple to use and include internal frequency compensation , and a fixed-frequency oscillator.
The LM2596 series operates at a switching frequency of 150 kHz thus allowing smaller sized filter components than what would be needed with lower frequency switching regulators. Available in a
standard 5-lead TO-220 package with several different lead bend options, and a 5-lead TO-263 surface mount package.
A standard series of inductors are available from several different manufacturers optimized for use with the LM2596 series. This feature greatly simplifies the design of switch-mode power supplies.
Other features include a ensured ±4% tolerance on output voltage under specified input voltage and output load conditions, and ±15% on the oscillator frequency. External shutdown is included, featuring typically 80 μA standby current. Self protection features include a two stage frequency reducing current limit for the output switch and an over temperature shutdown for complete protection under fault conditions. (1)
(1) † Patent Number 5,382,918.
Absolute Maximum Ratings (1)(2)
| Maximum Supply Voltage | 45V |
| ON /OFF Pin Input Voltage | −0.3 ≤ V ≤ +25V |
| Feedback Pin Voltage | −0.3 ≤ V ≤+25V |
| Output Voltage to Ground (Steady State) | −1V |
| Power Dissipation | Internally limited |
| Storage Temperature Range | −65°C to +150°C |
| ESD Susceptibility | |
| Human Body Model (3) | 2 kV |
| Lead Temperature | |
| DDPAK/TO-263 Package | |
| Vapor Phase (60 sec.) | +215°C |
| Infrared (10 sec.) | +245°C |
| TO-220 Package (Soldering, 10 sec.) | +260°C |
| Maximum Junction Temperature | +150°C |
(1) Absolute Maximum Ratings indicate limits beyond which damage to the device may occur. Operating Ratings indicate conditions for which the device is intended to be functional, but do not ensure specific performance limits.
(2) If Military/Aerospace specified devices are required, please contact the Texas Instruments Sales Office/ Distributors for availability and specifications.
(3) The human body model is a 100 pF capacitor discharged through a 1.5k resistor into each pin.
Operating Conditions
| Temperature Range | −40°C ≤ TJ ≤ +125°C |
| Supply Voltage | 4.5V to 40V |
Typical Application
(Fixed Output Voltage Versions)

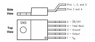
Connection Diagrams

Figure 1. 5-Lead Bent and Staggered Leads, Through Hole TO-220 (T) Package

Figure 2. 5-Lead DDPAK/TO-263 (S) Package
These devices have limited built-in ESD protection. The leads should be shorted together or the device placed in conductive foam during storage or handling to prevent electrostatic damage to the MOS gates.
|
|
LM2596SX-3.3 Integrated Circuit Chip Power Converter 150 kHz 3A Step-Down Voltage Regulator Images |